klimaanlage einbauen, nachrüsten

Ihr habt ein Problem oder eine technische Frage? Bitte stellt Anleitungen aber in die FAQ!
Benutzeravatar
Folterknecht
Sehr erfahrener Nutzer
Beiträge: 14648
Registriert: Mi 21. Mai 2003, 21:02
Wohnort: Siegburg

AW: klimaanlage einbauen, nachrüsten

Beitrag von Folterknecht »

den kkompressor solltest du voerst stromlos lassen damit nix passiert ... hast du eigentlich gecheckt ob wirklich alle teile die man benötigt dabei sind ?
...bin dann mal weg
Benutzeravatar
87er scala
Benutzer
Beiträge: 928
Registriert: Do 1. Jan 1970, 01:00
Wohnort: Wien

AW: klimaanlage einbauen, nachrüsten

Beitrag von 87er scala »

Also, ich hab in dem ganzen Chaos den verdampfer übersehen :-) da war noch ein schlauch dran.
An dem sind zwei Anschlüsse, somit ist alles klar.

Nur der eine Stecker beim relaise fürn lüfter bleibt frei, keine Ahnung wohin damit.

Mfg
87er Scala 16V PL im Aufbau
[url:2bmimw8p]http://www.sciroccoforum.de/forum/showt ... fbau-Umbau[/url:2bmimw8p]
Benutzeravatar
87er scala
Benutzer
Beiträge: 928
Registriert: Do 1. Jan 1970, 01:00
Wohnort: Wien

AW: klimaanlage einbauen, nachrüsten

Beitrag von 87er scala »

ja Folti, ist soweit alles dabei, nur das plastikteil von der umluftklappe zur luftansaugung fehlt leider.
87er Scala 16V PL im Aufbau
[url:2bmimw8p]http://www.sciroccoforum.de/forum/showt ... fbau-Umbau[/url:2bmimw8p]
Benutzeravatar
Schubkraft
Benutzer
Beiträge: 209
Registriert: So 6. Apr 2003, 21:25
Wohnort: Wolfsburg

AW: klimaanlage einbauen, nachrüsten

Beitrag von Schubkraft »

Hi philipp!
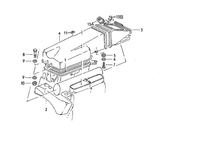
Fehlt Dir nur Teil nr. 4?
Oder das Komplette Teil im Wasserkasten?
Das Teil müsste ich noch über haben!
Mfg Marco
Dateianhänge
klima.JPG
[SIGPIC][/SIGPIC]

[TABLE="width: 590"]
[TR]
[TD]Scirocco GTII 16V "Turbo"[/TD]
[TD]06.1992[/TD]
[TD][/TD]
[TD]130.000Km[/TD]
[TD]Silverstone Blue[/TD]
[/TR]
[TR]
[TD]Scirocco GTII 16V[/TD]
[TD]04.1991[/TD]
[TD][/TD]
[TD]105.000Km[/TD]
[TD]Brilliantschwarz-metallic[/TD]
[/TR]
[TR]
[TD]Scirocco GTII 16V[/TD]
[TD]04.1992[/TD]
[TD][/TD]
[TD]160.000Km[/TD]
[TD]Alpinweiß[/TD]
[/TR]
[TR]
[TD]Polo Coupe Style "Kompressor"[/TD]
[TD]01.1994[/TD]
[TD][/TD]
[TD]305.000Km[/TD]
[TD]Klassikgrün-perleffekt[/TD]
[/TR]
[TR]
[TD]Polo Coupe Style[/TD]
[TD]07.1993[/TD]
[TD][/TD]
[TD]100.000Km[/TD]
[TD]Brilliantschwarz-metallic[/TD]
[/TR]
[/TABLE]
Benutzeravatar
87er scala
Benutzer
Beiträge: 928
Registriert: Do 1. Jan 1970, 01:00
Wohnort: Wien

AW: klimaanlage einbauen, nachrüsten

Beitrag von 87er scala »

Ja nur die Nummer 4,
Gruß
87er Scala 16V PL im Aufbau
[url:2bmimw8p]http://www.sciroccoforum.de/forum/showt ... fbau-Umbau[/url:2bmimw8p]
Benutzeravatar
87er scala
Benutzer
Beiträge: 928
Registriert: Do 1. Jan 1970, 01:00
Wohnort: Wien

AW: klimaanlage einbauen, nachrüsten

Beitrag von 87er scala »

Hab das teil doch dabei, war noch in der Kiste :-)

Bin wieder ein Stück weiter gekommen, lichtmaschine ist drin, hab noch ne Lima von meinem alten Golf gefunden und das Rad umgebaut, passt wunderbar. Im motorraum ist soweit alles fertig, noch das amaturenbrett einbauen und los gehts.
87er Scala 16V PL im Aufbau
[url:2bmimw8p]http://www.sciroccoforum.de/forum/showt ... fbau-Umbau[/url:2bmimw8p]
Benutzeravatar
Folterknecht
Sehr erfahrener Nutzer
Beiträge: 14648
Registriert: Mi 21. Mai 2003, 21:02
Wohnort: Siegburg

AW: klimaanlage einbauen, nachrüsten

Beitrag von Folterknecht »

haste den kabelbaum schon eingebaut ???? wenn nein kansnte mir den mal bitte gut abfotografieren ?
...bin dann mal weg
Benutzeravatar
87er scala
Benutzer
Beiträge: 928
Registriert: Do 1. Jan 1970, 01:00
Wohnort: Wien

AW: klimaanlage einbauen, nachrüsten

Beitrag von 87er scala »

Sorry folti, ist schon drin, amaturenbrett ist nun auch fertig, muss also nur noch gefüllt werden
87er Scala 16V PL im Aufbau
[url:2bmimw8p]http://www.sciroccoforum.de/forum/showt ... fbau-Umbau[/url:2bmimw8p]
sciroccofreak willi
Erfahrener Nutzer
Beiträge: 4827
Registriert: Di 20. Aug 2002, 19:22
Wohnort: tiefstes Bayern

AW: klimaanlage einbauen, nachrüsten

Beitrag von sciroccofreak willi »

Zuerst wäre mal interessant: Woher kommt die Klima 8V oder 16V?
Wo soll sie rein?
'89 Scala, 95 PS, 310.000 km, eigentlich Alltagsauto (derzeit inaktiv)
'92er Corrado 16V, 256.000 km, derzeit Alltagsauto
'89 GTX, 95 PS, 260.000 km, Winterauto
'92 GT II, 95PS, 186.000 km Treffenmobil mit Klima
'92 GT II, 95 PS, 93.000 km, Liebhaberstück
'92 16V, 129 PS, 82.000 km, Liebhaberstück
'93 Corrado 16V, 355.000 km, Kinderwagen
'93 Corrado 16V, 119.000 km wieder fit
'94 Corrado VR6, 178.000km Pflegefall
'93 Corrado VR6, 216.000km
+ weiters
Antworten