Benzinleitung

Antworten
Hightower_1910
Benutzer
Beiträge: 40
Registriert: Sa 22. Sep 2012, 22:04
Wohnort: Bremervörde

Benzinleitung

Beitrag von Hightower_1910 »

Der Dateianhang tank scirocco.jpg existiert nicht mehr.
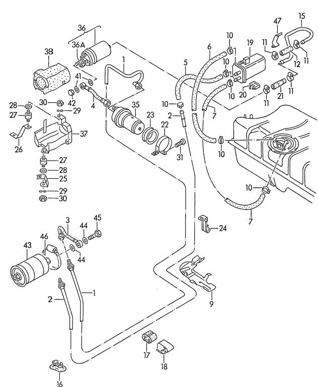
Ich brauche die Nummer 15 . Gruß
Dateianhänge
tank scirocco.jpg
Antworten