Hubaufteilung beim HBZ, was ist damit gemeint?
- christian_scirocco2
- Erfahrener Nutzer
- Beiträge: 6818
- Registriert: So 28. Nov 2004, 13:28
- Wohnort: Münster
AW: Hubaufteilung beim HBZ, was ist damit gemeint?
Hhm,
Ok. Die Frage wäre dann wie es Original beim Golf 3 ohne ABS ist. Das von dem der eingebaute HBZ ist. Aus eigener Erfahrung von der Arbeit; man weiß nie sicher ob der Ausgang in der Nähe auch wirklich dort seine Herkunft hat. Im inneren ist oft vieles anders aufgebaut.
Ok. Die Frage wäre dann wie es Original beim Golf 3 ohne ABS ist. Das von dem der eingebaute HBZ ist. Aus eigener Erfahrung von der Arbeit; man weiß nie sicher ob der Ausgang in der Nähe auch wirklich dort seine Herkunft hat. Im inneren ist oft vieles anders aufgebaut.
Scirocco 2 GT2 16V
- cekey
- Erfahrener Nutzer
- Beiträge: 3384
- Registriert: Fr 5. Apr 2002, 12:07
AW: Hubaufteilung beim HBZ, was ist damit gemeint?
Hier würde ich auch nach dem Spender gehen, Einfach die Leitungen auf Verdacht ändern....
Oder halt einfach den Richtigen 22er, bisher wusste ich auch nicht das es da Unterschiede gibt.
Das müsste sich aber dann auch am Bremsenprüfstand zeigen.
Oder halt einfach den Richtigen 22er, bisher wusste ich auch nicht das es da Unterschiede gibt.
Das müsste sich aber dann auch am Bremsenprüfstand zeigen.
"Das geht nicht" das haben die anderen schon rausgefunden
Jetzt musst du den Weg finden dass das doch geht.
@ michael manousakis
Scirocco ABF, Klima, 6-Gang Erweiterung, Wavetrac-Sperre, Tempomat, ABS
Jetzt musst du den Weg finden dass das doch geht.
@ michael manousakis
Scirocco ABF, Klima, 6-Gang Erweiterung, Wavetrac-Sperre, Tempomat, ABS
- christian_scirocco2
- Erfahrener Nutzer
- Beiträge: 6818
- Registriert: So 28. Nov 2004, 13:28
- Wohnort: Münster
AW: Hubaufteilung beim HBZ, was ist damit gemeint?
So,
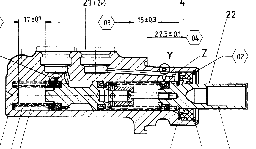
ich habe nochmal ein Bild von ATE bekommen: Das bestätigt das mit 15/17 mm Hub. Habe noch ein paar Videos bei Youtube gesehen und google gequält. Wenn ich das richtig verstehe geht das trotzdem (und unsere Fahrzeuge brauchen die gekreuzten Bremskreise) wegen dem negaitiven Lenkrollradius. Grob gesagt werden die Räder beim Bremsen automaitsch in die Spur gezogen falls ein Bremskreis ausfällt damit das Fahrzeug nicht ausbricht. Warum mit unterschiedlichen Hüben gearbeitet wird kann ich nicht sagen, aber aus technsichem Verstand:
Der HBZ ist gefüllt mit Flüssigkeit, sprich keine Luft zum kompremieren ist vorhanden. Das heißt das beide Kolben(trotz über Federn verbunden) den gleichen Weg machen und die letzten 2mm des einen Kolben eine Art Reserve darstellen in einem Extremfall?!
Das könnte dann auch bedeuten das der 16/18 HBZ eher eine Verbesserung wäre da er im Notfall eine größere menge pumpen könnte.
So interpretiere ich das zumindest.
gruß Christian
ich habe nochmal ein Bild von ATE bekommen: Das bestätigt das mit 15/17 mm Hub. Habe noch ein paar Videos bei Youtube gesehen und google gequält. Wenn ich das richtig verstehe geht das trotzdem (und unsere Fahrzeuge brauchen die gekreuzten Bremskreise) wegen dem negaitiven Lenkrollradius. Grob gesagt werden die Räder beim Bremsen automaitsch in die Spur gezogen falls ein Bremskreis ausfällt damit das Fahrzeug nicht ausbricht. Warum mit unterschiedlichen Hüben gearbeitet wird kann ich nicht sagen, aber aus technsichem Verstand:
Der HBZ ist gefüllt mit Flüssigkeit, sprich keine Luft zum kompremieren ist vorhanden. Das heißt das beide Kolben(trotz über Federn verbunden) den gleichen Weg machen und die letzten 2mm des einen Kolben eine Art Reserve darstellen in einem Extremfall?!
Das könnte dann auch bedeuten das der 16/18 HBZ eher eine Verbesserung wäre da er im Notfall eine größere menge pumpen könnte.
So interpretiere ich das zumindest.
gruß Christian
Scirocco 2 GT2 16V
- Stephan
- Beiträge: 12670
- Registriert: Fr 1. Okt 1999, 20:17
- Wohnort: Braunschweig
AW: Hubaufteilung beim HBZ, was ist damit gemeint?
Je nach Felgenbauart, Einpresstiefe, Spurverbreiterung usw. hast Du aber vlt gar keinen negativen Lenkrollhalbmesser mehr...
http://www.kfz-tech.de/Biblio/Lenkung/L ... messer.htm
Hier mal ein paar Anmerkungen, vlt mal reinlesen.
Gerade die Problematik mit dem Lenkrollhalbmesser sollte man mal genau ins Auge fassen. Ich denke das ist vieler Probleme Kern. Und genau darum werde ich beim Zusammenbau des Roccos das nächste Mal auch parallel klemmen, zumindest versuchsweise. Hatte ich schon mal (damals versehentlich), ging gut. Vlt könnte man hier über den Sturz noch ein wenig entgegenwirken.
Was kann denn im schlimmsten Fall passieren?
1. Bremse hinten fällt aus: Vorderachse bremst. Wird kaum ein unterschied zu merken sein, bremst nur mehr Vorderachslastig und blockiert schnell vorne.
2. Bremse vorne fällt aus: Es bremst nur hinten und verzögert dadurch net so gut.
In beiden Varianten kommt man zum Stehen. Die Gefahr des Querstellens des Fahrzeugs ist "null". Sobald man steht, fährt man mit defekter Bremse eh nicht weiter.
Was passiert, wenn es über Kreuz geklemmt ist?
1.) Ist der Lenkrollhalbmesser weit genug negativ und ein Kreis versagt, dann kann man mit sinnigem Bremsen das Fahrzeug zum Stehen bringen. Prügelt man rein wie verrückt stellt es sich quer.
2.) Ist der Lenkrollhalbmesser aufgrund diverser Umbauten nun doch schon ins Positive verschoben, dann dürfte genau das passieren, was ich selbst schon erlebt habe, sobald eine Seite stärker bremst bricht der Wagen fast unkontrollierbar aus. Auch Luft in der Bremse macht sich dann böse bemerkbar, denn es stabilisiert sich eben nicht von selbst.
1.Massnahme: Lenkrollhalbmesser prüfen!
http://www.kfz-tech.de/Biblio/Lenkung/L ... messer.htm
Hier mal ein paar Anmerkungen, vlt mal reinlesen.
Gerade die Problematik mit dem Lenkrollhalbmesser sollte man mal genau ins Auge fassen. Ich denke das ist vieler Probleme Kern. Und genau darum werde ich beim Zusammenbau des Roccos das nächste Mal auch parallel klemmen, zumindest versuchsweise. Hatte ich schon mal (damals versehentlich), ging gut. Vlt könnte man hier über den Sturz noch ein wenig entgegenwirken.
Was kann denn im schlimmsten Fall passieren?
1. Bremse hinten fällt aus: Vorderachse bremst. Wird kaum ein unterschied zu merken sein, bremst nur mehr Vorderachslastig und blockiert schnell vorne.
2. Bremse vorne fällt aus: Es bremst nur hinten und verzögert dadurch net so gut.
In beiden Varianten kommt man zum Stehen. Die Gefahr des Querstellens des Fahrzeugs ist "null". Sobald man steht, fährt man mit defekter Bremse eh nicht weiter.
Was passiert, wenn es über Kreuz geklemmt ist?
1.) Ist der Lenkrollhalbmesser weit genug negativ und ein Kreis versagt, dann kann man mit sinnigem Bremsen das Fahrzeug zum Stehen bringen. Prügelt man rein wie verrückt stellt es sich quer.
2.) Ist der Lenkrollhalbmesser aufgrund diverser Umbauten nun doch schon ins Positive verschoben, dann dürfte genau das passieren, was ich selbst schon erlebt habe, sobald eine Seite stärker bremst bricht der Wagen fast unkontrollierbar aus. Auch Luft in der Bremse macht sich dann böse bemerkbar, denn es stabilisiert sich eben nicht von selbst.
1.Massnahme: Lenkrollhalbmesser prüfen!
MfG,
Stephan
Beim Beschleunigen müssen die Tränen der Ergriffenheit waagerecht vom Auge zum Ohr verlaufen...
(Walter Röhrl)
Stephan
Beim Beschleunigen müssen die Tränen der Ergriffenheit waagerecht vom Auge zum Ohr verlaufen...
(Walter Röhrl)
- christian_scirocco2
- Erfahrener Nutzer
- Beiträge: 6818
- Registriert: So 28. Nov 2004, 13:28
- Wohnort: Münster
AW: Hubaufteilung beim HBZ, was ist damit gemeint?
Danke Stephan,
sehr interessant.
Also für mich heißt das schonmal zwei Dinge:
Mehr informieren.
Wenn im Juni die neuen Felgen montiert werden (7*15 in ET25 statt wie bisher 28), fliegen die 15mm Platten an der HA raus.
Das sich eine Verbreiterung (vorallem nur an einer Achse) negativ auswirken kann wußte ich, da nehme ich lieber noch etwas mehr weg.
Wenn ich das Bild von dem Link so betrachte. Durch starke Tieferlegung kann man dem Effekt wieder entgegenwirken, da dann der bereich wieder ins negative geht.
Den HBZ vom Golf lasse ich erstmal drin und entlüfte nochmal neu. Ich dachte immer DOT4 darf man 2 jahre mindestens fahren, laut ATE nur 1 Jahr. Dann hole ich mal 5.1er von TRW, soll keine Nachteile haben und 2 Jahre halten. Und der neu bestellte 16V HBZ geht zurück. ich bau nicht ein 160€ teile ein wenn ich am Ende "Null" davon habe außer das es neu ist.
Gruß Christian
BTW, so wie du schreibst mit V/V und H/H wird gesagt das es gefährlich ist wenn die VA Bremse ausfällt, mit der leichten HA hast du fast nichts mehr an Reserven zum Bremsen.
sehr interessant.
Also für mich heißt das schonmal zwei Dinge:
Mehr informieren.
Wenn im Juni die neuen Felgen montiert werden (7*15 in ET25 statt wie bisher 28), fliegen die 15mm Platten an der HA raus.
Das sich eine Verbreiterung (vorallem nur an einer Achse) negativ auswirken kann wußte ich, da nehme ich lieber noch etwas mehr weg.
Wenn ich das Bild von dem Link so betrachte. Durch starke Tieferlegung kann man dem Effekt wieder entgegenwirken, da dann der bereich wieder ins negative geht.
Den HBZ vom Golf lasse ich erstmal drin und entlüfte nochmal neu. Ich dachte immer DOT4 darf man 2 jahre mindestens fahren, laut ATE nur 1 Jahr. Dann hole ich mal 5.1er von TRW, soll keine Nachteile haben und 2 Jahre halten. Und der neu bestellte 16V HBZ geht zurück. ich bau nicht ein 160€ teile ein wenn ich am Ende "Null" davon habe außer das es neu ist.
Gruß Christian
BTW, so wie du schreibst mit V/V und H/H wird gesagt das es gefährlich ist wenn die VA Bremse ausfällt, mit der leichten HA hast du fast nichts mehr an Reserven zum Bremsen.
Scirocco 2 GT2 16V
- Stephan
- Beiträge: 12670
- Registriert: Fr 1. Okt 1999, 20:17
- Wohnort: Braunschweig
AW: Hubaufteilung beim HBZ, was ist damit gemeint?
Du Christian, die Problematik der "Gefährlichkeit" ist mir durchaus bewußt. Es gab beide Systeme in Serie.
Bei Volvo hatten Sie sogar mal ein doppeltes System, mit vorne parallel und zusätzlich vorne/hinten über Kreuz (2 Bremsschläuche pro Bremse vorne). Doppelt Safe sozusagen.
Heutzutage ist sowieso alles anders weil per ABS geregelt und man hat eh nur noch 2 Ausgänge am HBZ. Ich seh das alles nicht so kritisch, denn wann bricht schon mal ne Bremsleitung? Gerade bei unseren Fahrzeugen die sogar dauernd alles neu bekommen (inkl. Motoren, Bremsen und auch Leitungen) ist die Gefahr wohl äußerst gering. Oma Frieda von nebenan würde solche Tips von mir sicher nicht bekommen, aber das ist hier wohl ein bisserl was anderes.
Und wie gesagt, das oben geschrieben soll Dir und mir zunächst zur Fehlersuche dienen um andere Quellen und Ursachen der Reihe nach auszuschließen. Es muss keine Dauerlösung sein.
Bei Volvo hatten Sie sogar mal ein doppeltes System, mit vorne parallel und zusätzlich vorne/hinten über Kreuz (2 Bremsschläuche pro Bremse vorne). Doppelt Safe sozusagen.
Heutzutage ist sowieso alles anders weil per ABS geregelt und man hat eh nur noch 2 Ausgänge am HBZ. Ich seh das alles nicht so kritisch, denn wann bricht schon mal ne Bremsleitung? Gerade bei unseren Fahrzeugen die sogar dauernd alles neu bekommen (inkl. Motoren, Bremsen und auch Leitungen) ist die Gefahr wohl äußerst gering. Oma Frieda von nebenan würde solche Tips von mir sicher nicht bekommen, aber das ist hier wohl ein bisserl was anderes.
Und wie gesagt, das oben geschrieben soll Dir und mir zunächst zur Fehlersuche dienen um andere Quellen und Ursachen der Reihe nach auszuschließen. Es muss keine Dauerlösung sein.
MfG,
Stephan
Beim Beschleunigen müssen die Tränen der Ergriffenheit waagerecht vom Auge zum Ohr verlaufen...
(Walter Röhrl)
Stephan
Beim Beschleunigen müssen die Tränen der Ergriffenheit waagerecht vom Auge zum Ohr verlaufen...
(Walter Röhrl)
- christian_scirocco2
- Erfahrener Nutzer
- Beiträge: 6818
- Registriert: So 28. Nov 2004, 13:28
- Wohnort: Münster
AW: Hubaufteilung beim HBZ, was ist damit gemeint?
Ich bin gespannt was du berichtest ob das spürbar ist. Sollte auch nicht "Ermahnung"zu verstehen sein. Streng genommen dürfte ich meinen auch nicht im verkehr bewegen, 38iger Sättel, falschen HBZ... . Aber ich denke wenn man mit Sinn und verstand dabei geht und die Auswirkung abschätzen kann, ist das wie du schreibst vertretbar.
Ich werde erstmal die Flüssigkeit wechseln (bei der Gelegenheit fliegen dann auch die Platten raus) und dann schauen ob er noch schief zieht.
Ich werde erstmal die Flüssigkeit wechseln (bei der Gelegenheit fliegen dann auch die Platten raus) und dann schauen ob er noch schief zieht.
Scirocco 2 GT2 16V
- Stephan
- Beiträge: 12670
- Registriert: Fr 1. Okt 1999, 20:17
- Wohnort: Braunschweig
AW: Hubaufteilung beim HBZ, was ist damit gemeint?
Viel Erfolg. Meiner wird erst wieder in ein paar Jahren Asphalt spüren.
MfG,
Stephan
Beim Beschleunigen müssen die Tränen der Ergriffenheit waagerecht vom Auge zum Ohr verlaufen...
(Walter Röhrl)
Stephan
Beim Beschleunigen müssen die Tränen der Ergriffenheit waagerecht vom Auge zum Ohr verlaufen...
(Walter Röhrl)
- COB
- Erfahrener Nutzer
- Beiträge: 6671
- Registriert: Fr 3. Jul 2009, 12:29
- Wohnort: CHE/ERL
AW: Hubaufteilung beim HBZ, was ist damit gemeint?
Hat der VW denn überhaupt einen negativen Lenkrollhalbmesser ? Vom reinen Fahrgefühl würde ich behaupten, nöö. Das Überkreuzklemmen war eigentlich der Standard bei Fzgen ohne ABS seit den späten 60ern. Warum sollte jetzt plötzlich nicht mehr gut sein ? Wenn man sich natürlich weit von den werksseitigen Parametern weg bewegt... dann wird alles irgendwann gefährlich oder gar unfahrbar.
Die VW-Horde: Scirocco GT (93-99) - Passat C (95-01) - Scirocco GTX (99-heute)
Die BMW-Horde: 525iT (01-07) - 540iT (07-heute) - 540iA (09-heute) - 528iT (10-heute) - 520dT (18-heute)
Haftungsausschluss: Alle gemachten Aussagen stellen lediglich die Sichtweise des Autors anhand der vorliegenden Informationen dar. Der Autor übernimmt keinerlei Haftung für die Befolgung gemachter Ratschläge und Hinweise. Jeder Halter ist für die Sicherheit seines Fahrzeuges vollumfänglich selbst verantwortlich und handelt somit immer eigenverantwortlich.
Die BMW-Horde: 525iT (01-07) - 540iT (07-heute) - 540iA (09-heute) - 528iT (10-heute) - 520dT (18-heute)
Haftungsausschluss: Alle gemachten Aussagen stellen lediglich die Sichtweise des Autors anhand der vorliegenden Informationen dar. Der Autor übernimmt keinerlei Haftung für die Befolgung gemachter Ratschläge und Hinweise. Jeder Halter ist für die Sicherheit seines Fahrzeuges vollumfänglich selbst verantwortlich und handelt somit immer eigenverantwortlich.
- christian_scirocco2
- Erfahrener Nutzer
- Beiträge: 6818
- Registriert: So 28. Nov 2004, 13:28
- Wohnort: Münster
AW: Hubaufteilung beim HBZ, was ist damit gemeint?
Negativen Lenkrollhalbmesser haben quasi alle Fronttriebler seit den späten 60igern, meine gelesen zu haben das der erste Audi 80 damit an fing.
Scirocco 2 GT2 16V