Ölkühler vom Golf 1 GTI nachrüsten, aber wie?

Ihr habt ein Problem oder eine technische Frage? Bitte stellt Anleitungen aber in die FAQ!
Meiki

AW: Ölkühler vom Golf 1 GTI nachrüsten, aber wie?

Beitrag von Meiki »

COB hat geschrieben:Das ist aber auch kein OEM-Kühler.. ;-)
In Beitrag 8 gings mir auch nur um Schläuche Quetschverbindungen, wie man es beim breiten 16V Wasserkühler machen kann usw ;-)
Originalkühler siehe Beitrag 3

Und für einen normalen Motor reicht auch der normale GTI Kühler. Es gibt auch andere Thermostate und Lüfterschalter für den Kühlkreislauf die man einbauen könnte.
Benutzeravatar
COB
Erfahrener Nutzer
Beiträge: 6671
Registriert: Fr 3. Jul 2009, 12:29
Wohnort: CHE/ERL

AW: Ölkühler vom Golf 1 GTI nachrüsten, aber wie?

Beitrag von COB »

BPower hat geschrieben: Ich komm auf der Autobahn mit dem GTI Kühler jetzt bei normalem Fahrstil auf 102 Grad Öltemperatur auf der MFA gemessen am Zylinderkopf oben, wenn er mal richtig gescheucht wird dann steigt sie auf 110 bis 115 Grad.
Das ist aber ganz schön viel für einen "gekühlten" Motor. Mein JuHu schafft auf der Bahn kaum 100°C und mehr als 110°C hatte der noch nie und verbaut ist der Wasser-Ölkühler in Serie. Alles bis 150°C ist eh absolut normal, da macht man sich keine Gedanken drüber. Wer mehr Öl will, erreicht das zB auch mit einer größeren Ölwanne und die ist einfacher zu verbauen. Wer das haben muss, soll es halt einbauen, aber sinnig ist das mE nicht, effektiver ist nun mal der Wasser-Öhlkühler. Wer Angst hat, kann ja den vom TDI nehmen, die sind noch ein Stück größer.
Die VW-Horde: Scirocco GT (93-99) - Passat C (95-01) - Scirocco GTX (99-heute)
Die BMW-Horde: 525iT (01-07) - 540iT (07-heute) - 540iA (09-heute) - 528iT (10-heute) - 520dT (18-heute)

Haftungsausschluss: Alle gemachten Aussagen stellen lediglich die Sichtweise des Autors anhand der vorliegenden Informationen dar. Der Autor übernimmt keinerlei Haftung für die Befolgung gemachter Ratschläge und Hinweise. Jeder Halter ist für die Sicherheit seines Fahrzeuges vollumfänglich selbst verantwortlich und handelt somit immer eigenverantwortlich.
Benutzeravatar
Maik
Beiträge: 5189
Registriert: So 21. Apr 2002, 21:47
Wohnort: Rühle(Bodenwerder), Germany
Kontaktdaten:

AW: Ölkühler vom Golf 1 GTI nachrüsten, aber wie?

Beitrag von Maik »

Manchmal will man etwas auch einfach nur haben...das muss nicht immer Sinn machen.
[SIGPIC][/SIGPIC]


Terminübersicht Treffen 2019 >Hier klicken</
Benutzeravatar
cekey
Erfahrener Nutzer
Beiträge: 3379
Registriert: Fr 5. Apr 2002, 12:07

AW: Ölkühler vom Golf 1 GTI nachrüsten, aber wie?

Beitrag von cekey »

Der ölkühler hat Sinn, bei längeren Vollgasfahrten, nur wer hat schon das Glück in den Genuß zu kommen.... mal abgesehen vom 50pser beim Überholvorgang
"Das geht nicht" das haben die anderen schon rausgefunden
Jetzt musst du den Weg finden dass das doch geht.
@ michael manousakis

Scirocco ABF, Klima, 6-Gang Erweiterung, Wavetrac-Sperre, Tempomat, ABS
yellowrages
Benutzer
Beiträge: 87
Registriert: Mi 21. Jul 2010, 16:55
Wohnort: Püttlingen

Beitrag von yellowrages »

Siehste, so einfach kann das sein... ;-)

Ist der große 16V-Kühler im Weg verlängert man die originale Halterung um min. 65mm und schon klappt das wieder mit dem schönen, alten “plug and play“ :-)

Bilder im eingebauten Zustand folgen... ;-)



[ATTACH]77919[/ATTACH]



[ATTACH]77920[/ATTACH]



[ATTACH]77921[/ATTACH]
Dateianhänge
ForumRunner_20140915_164507.png
ForumRunner_20140915_164433.png
ForumRunner_20140915_164404.png
yellowrages
Benutzer
Beiträge: 87
Registriert: Mi 21. Jul 2010, 16:55
Wohnort: Püttlingen

AW: Ölkühler vom Golf 1 GTI nachrüsten, aber wie?

Beitrag von yellowrages »

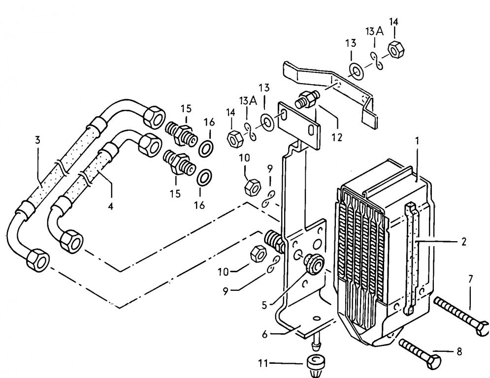
Hab gerade eine Explosionszeichnung gefunden mit allen Teilen für den Ölkühler. Oben an der Verschraubung sind Gummilager und ein "Blech".

Hat wer ne Ahnung für was dieses "Blech" gut sein soll?
Der Dateianhang 007014000.jpg existiert nicht mehr.
Hier der Link zum Teilekatalog (kompletter ETKA)

ETKA-Online
Dateianhänge
007014000.jpg
FDEGFRJH
Benutzer
Beiträge: 148
Registriert: Di 31. Mai 2011, 05:17

AW: Ölkühler vom Golf 1 GTI nachrüsten, aber wie?

Beitrag von FDEGFRJH »

Hi, das "Blech" ist am Schlossträger dran, und dient als Befestigung. Gruß
Schnitzel
Erfahrener Nutzer
Beiträge: 2885
Registriert: Fr 9. Aug 2002, 17:18
Wohnort: Hannover

AW: Ölkühler vom Golf 1 GTI nachrüsten, aber wie?

Beitrag von Schnitzel »

...und gleichzeitig als Übergang von den Schläuchen und den Nippeln zum Ölkühler selber.
Ohne den gehts eh nicht.
Mfg. Schnitzel aka Sebastian

[SIGPIC][/SIGPIC]
yellowrages
Benutzer
Beiträge: 87
Registriert: Mi 21. Jul 2010, 16:55
Wohnort: Püttlingen

Beitrag von yellowrages »

Hallo,

Check ich nicht... *auf dem schlauch es steht*
Hat jemand eventuell ein Bild im zusammengesetzten Zustand?
Benutzeravatar
Borstel
Erfahrener Nutzer
Beiträge: 1224
Registriert: Mo 31. Jan 2011, 23:06
Wohnort: Neu Isenburg
Kontaktdaten:

AW: Ölkühler vom Golf 1 GTI nachrüsten, aber wie?

Beitrag von Borstel »

Gude - also eigentlich ist das Teil "idiotensicher". Der kleine Bügel/Blech ist am Schlossträger normalerweise angepunktet. Man kann die Befestigung aber auch mit etwas handwerklichem Geschick anders lösen. Auf deinem Bild ist die Nr.6 - das ist der eigentliche Halter für den Ölkühler, welchen du benötigst. Auf ihm sitzt der Ölkühler und er wird ähnlich wie der Wasserkühler im Frontblech platziert. Ich hoffe, ich konnte dir etwas helfen und du kannst nach monatelanger Vorbereitung endlich dat Dingens einbauen. :applause:
Gruss Torsten
PS: Schau doch nochmal auf die erste Seite des Threads. Der Meiki hat eigentlich alle Bilder verlinkt vom Einbau. Und den Schlossträgerhalter/Blech braucht man nur beim Einser!!!
http://www.borstel-ostharz.de

In Bestand:
80er Rocco I / Umbau auf 16V http://www.sciroccoforum.de/forum/showthread.php?327667-Back-to-the-Roots-80er-Rocco-und-kein-Ende-in-Sicht
76er Rocco I / Original mit 56000km und Automatik

...sind 38cm Scheinwerferaustrittskante normal ???
Antworten