Brauche Hilfe Alarmanalge bzw. Zentralverriegelung

Ihr habt ein Problem oder eine technische Frage? Bitte stellt Anleitungen aber in die FAQ!
Antworten
Benutzeravatar
KRY€
Benutzer
Beiträge: 746
Registriert: Mo 18. Aug 2008, 15:26
Wohnort: Hamm

Brauche Hilfe Alarmanalge bzw. Zentralverriegelung

Beitrag von KRY€ »

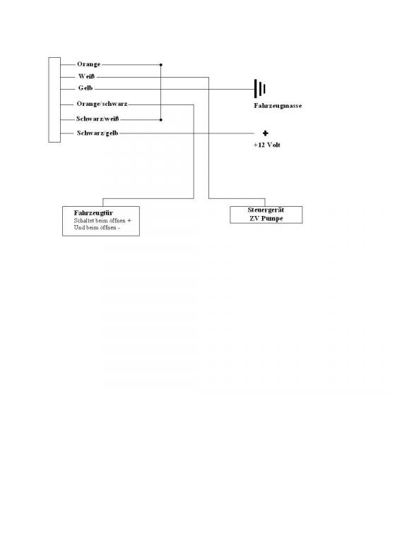
Hi vielleicht könnt ihr mir helfen? Hab in meinen Rocco eine Elektropneumatische Zentralverriegelung vom Audi 80 Typ 89 eingebaut.
Funktioniert auch super, kann ich nur weiter empfehlen. Da ich jetzt eine Alarmanlage einbauen möchte stehe ich vor einem Problem im Anschlussplan steht folgendes ( bild 1 )
Aber die Zentralverriegelung hat kein Steuergerät die läuft ohne.

Ich weiß dass sie nur über ein Kabel gesteuert wird.
Kabelfarbe ZV Auf grün-blau
Kabelfarbe ZV Zu grün-blau

Jetzt meine Frage wie bekomme ich das Ding zum laufen? Irgendwie weiß ich net weiter! Hab so etwas zwar schon zich mal gemacht aber im Moment hab ich irgendwie ein Brett vorm Kopf.

Danke schon mal

Gruß Stefan
Dateianhänge
ZV jpg.jpg
ZV jpg.jpg (15.72 KiB) 191 mal betrachtet
Antworten